HXGN15A-12 (F, R) type AC metal enclosed switchgears, for city power grid construction and transformation to new high-voltage switchgear production. In the power supply system also as breaking load current and short-circuit current and short-circuit current with closing, suitable for AC 3 ~ 10KV/50Hz power distribution system. Widely used in city power grid construction and renovation project, industrial and mining enterprises, high-rise buildings and public facilities, as a ring network power supply unit and terminal equipment, a distribution of power, control and protection of electrical equipment, can also be installed in the pre installed substation. This ring equipped with vacuum load switch, spring operating mechanism, this mechanism can be manually operated, or electric operation. The grounding switch and isolation switch with hand operating mechanism, the ring set of strong, small size, no combustion and explosion danger, with a reliable "anti five" function.
This equipment complies with the national standard GB 3906-2020《Alternating-current metal-enclosed switchgear and controlgear for rated voltages from 3.6 kV to 40.5 kV》and IEC 62271-200《High-voltage switchgear and controlgear – Part 200: Alternating-current metal-enclosed switchgear and controlgear for rated voltages above 1 kV and up to and including 52 kV》
1 model meaning
2 normal operating conditions
1 ambient air temperature: -15 to +40;
2 altitude: 1000m and below;
3 Humidity: daily average relative humidity is less than 95%, the average daily water vapor pressure of not more than 2.2Kpa,
The monthly average relative humidity is less than 90%, the average monthly water vapor pressure of not more than 1.8Kpa;
4 earthquake intensity: no more than 8 degrees;
5 no corrosive or flammable gas and other obvious pollution places. Note: beyond the normal conditions of use, the user can consult with the company to resolve.
3 technical parameters
4 mechanical properties and technical parameters
5 ring network power supply principle
Ring network power supply generally consists of three basic units composition (see Figure 1) and cabinet as a ring network unit, when any failure occurs in the circuit, prompt isolation, and by another unit to ensure continuous power supply for user transformer branch. Subscriber loop loop network cabinet of transformer plays a role in the protection and isolation, easy maintenance.
Ring network cabinet can be arbitrarily extended, and according to the user's requirements by the basic unit to constitute a variety of combination of programs.
6 structural characteristics
Structural performance characteristics
1 ring network cabinet using 8MF assembly, the whole frame installation module hole E=20mm.
2 ring network cabinet main with FZN21-12D type load switch or FZRN21-12D type fuse combination, the type of electrical appliances with isolation switch, vacuum load switch, grounding switch, and the isolation switch and grounding switch has obvious fracture.
3. Isolating switch, vacuum load switch, grounding switch, the door has a perfect and reliable mechanical linkage, an interlocking device, can effectively prevent the misoperation, and ensure the safety of maintenance.
4 can be manual, electric operation.
The 5 meter cabinet door, door is provided with a sealing instrument pin.
6. Fuse combined electric appliance cabinet, weld tubes with a firing pin. Short circuit conditions, hammer hits the trip mechanism, breaking fast, can effectively protect the electrical equipment.
7 ring network cabinet with a positive operation, reliable wall installation.
Five anti lock function
1. Power transmission operation: only when the cabinet door is closed and locked, the operation of grounding switch to the "on" position to load switch to closing position.
2. Power operation: when the load switch in the isolated position, to shut the grounding switch is closed, the grounding switch, is in the closing position, insert insulating barrier in place, in order to open the door.
3. The vacuum killing arc chamber and an isolating knife reliable interlock, and disconnecting and earthing knife mutual linkage, and with the cabinet door interlocking and insulation bulkhead doors and also have interlocking.
7 main circuit diagram

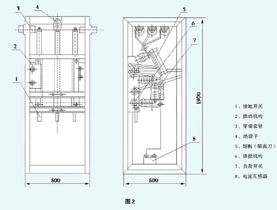
8 outline and installation dimensions
9 ordering instructions
The following information shall be provided when ordering:
1, the main circuit scheme, number or the main circuit combination arrangement diagram.
2, auxiliary circuit electrical schematic and control circuit voltage.
3, switching equipment layout.
4, such as non-standard main circuit and circuit design, can be commissioned by the company's design, production.
5, other special conditions of use.



